11月26日,江苏永大化工机械股份有限公司(永大股份)北交所上市将迎来上会,保荐机构是国泰海通证券。
永大股份专业从事基础化工、煤化工、炼油及石油化工、光伏与医药等领域压力容器的研发、设计、制造、销售及相关技术服务,形成以反应压力容器、换热压力容器、分离压力容器、储存压力容器为主的非标压力容器产品体系,客户包括中石化、中石油、中海油、中核集团等等。
梳理来看,实控人李昌哲、顾秀红、李进一家持股比例近87%;曾向第三方拆出资金,财务内控需关注;出厂前未取得监督检验证明文件产品的销售金额占比高,合规性遭问询;募资缩减至4.58亿元,删减0.5亿补流项目;分红0.53亿元,短期债务压力低;激进扩产,产能消化遭问询;研发费用率落后于行业均值,2024年在可比同行中垫底;研发人员以大专以下学历为主,占比过半;2024年增收不增利,今年前三季度业绩双降;期末前五大客户集中度超八成,单一客户占比超五成;与客户对簿公堂,单项计提坏账0.33亿元。

实控人表决前近87%,曾存在资金拆借
据短平快解读了解,2009年8月,永大股份前身永大有限成立,2022年7月完成股份制改革,2024年7月挂牌新三板,目前所属层级为创新层。
实控人持股比例近87%。永大股份控股股东是李昌哲,实际控制人是李昌哲、顾秀红、李进,李昌持股比例61.62%、李昌哲之子李进持股比例7.74%、李进配偶顾秀红持股比例17.2%,三人是一致行动人,合计直接持股比例86.56%。

另外,股东南通永诺(持股比例1.58%)合伙人陈汉炎、李澜系李昌哲之子、李进之兄,李新星系李昌哲之孙、陈汉炎之子、李进侄子。
李昌哲出生于1944年,高中学历,无境外永久居住权,现任公司行政部副部长,李进出生于1971年,现任董事长、总经理,顾秀红出生于1975年,现任董事,其与李进均为中国国籍,还拥有美国永久居留权。
李昌哲三人持股比例高,需要防范实际控制人不当控制风险,永大股份表示,如果实际控制人利用其控制地位,通过行使表决权等方式对公司的经营决策、人事、财务等进行不当控制,可能损害公司及其他股东利益,以致公司面临实际控制人控制不当的风险。
曾存在资金拆借。报告期内,永大股份存在资金拆借、不规范使用票据等内控不规范的情形,在2020年及2021年分别向上海戊正工程技术有限公司(上海戊正)拆出资金100万元、50万元,上海戊正2022年归还相关资金。
另外,公司在2021年向江苏金之虹新材料有限公司(金之虹)拆出资金1000万元,金之虹在2021年、2022年分别归还300万元、700万元。根据借款协议,金之虹应当向公司支付利息63.82万元,而其在2022年3月22日支付38.09万元的利息后,剩余25.73万元利息因经营困难无力支付,永大股份当年12月与其签署补充协议,豁免剩余未支付利息,该事项经过董事会审议通过。

北交所在问询中要求永大股份说明向第三方拆出资金的背景及原因,拆出资金的最终用途,是否有客观证据佐证,借款方是否与发行人及其关联方、发行人客户或供应商存在关联关系或其他业务、资金往来。
据回复,上海戊正、金之虹向公司拆借资金均为经营周转所需,存在银行回单、社保缴纳凭证等客观证据佐证,借款方与公司不存在关联系或其他业务往来、资金往来。相关财务内控不规范事项在2022年12月31日之前完成整改。
经营合规性遭拷问。永大股份从事压力容器产品生产需取得特种设备生产许可证及安全生产许可证等相关资质,部分产品生产、出厂需经过监督检验过程。
2022年至2025年1-6月(报告期),公司出厂前未取得监督检验证明文件的产品的销售金额分别为51,936.37万元、49,987.37万元、55,836.85万元、22,299.99万元,占营业收入比例分别为74.67%、70.18%、68.15%、69.52%。

北交所在问询中要求公司说明未获取监督检验证明文件的原因及合规性,是否存在被相关主管部门处罚的风险,是否存在纠纷或潜在纠纷,是否构成重大违法违规及对公司生产经营的影响。
永大股份表示,公司部分特种设备产品出厂前未获取监督检验证明文件的情况存在被相关主管部门处罚的风险,但鉴于报告期内公司压力容器产品出厂前均经制造监检合格并由监检员打监检钢印,并且最终均取得了监检证书、公司已取得监管部门关于该事项的合规证明、实际控制人承诺其将无条件全额承担公司因该事项造成的损失,该情况不构成重大违法违规行为。
募资缩减至4.58亿元,删减0.5亿补流项目
据短平快解读了解,本次IPO,永大股份拟向不特定合格投资者公开发行股票不超过4,652万股,拟募集资金4.8亿元,用于重型化工装备生产基地一期建设项目。

删减补流项目。事实上,申报稿中上述项目计划使用募集资金5.58亿元,较上会稿相差约1亿元,此外申报稿还拟补充流动资金0.5亿元,但在上会稿中则删减该项目,北交所曾对该项目的必要性、合理性进行问询。
报告期内,永大股份资产负债率连降,从64.04%下滑至45.34%,期末货币资金0.98亿元,而短期借款、一年内到期的非流动负债分别为100.02万元、65.9万元,没有长期借款,债务压力较小。
更重要的是,公司在2022年、2024年均分红2,625.79万元,合计分红5,305.34万元,已经超过补充流动资金的0.5亿元,先分红后补流的做法并不合理,取消也在情理之中。
激进扩产,产能消化遭问询。报告期内,永大股份压力容器产能利用率波动较大,分别为84.39%、106.64%、83.83%、92.75%,2024年产能为25,000吨,而本次募投项目位于如东县洋口港临港工业区内,建设周期24个月,建设完成后预计将新增压力容器30,000吨/年的生产能力,是现有产能的1.2倍,典型的激进扩产。

产能消化成北交所关注重点,在首轮问询中要求公司从多个维度说明募投项目建设必要性、可行性,达产后新增产能的市场消化能力,是否存在产能过剩风险;第二轮问询中要求进一步说明本次募投项目主要新增超大、超长型压力容器产品产能的必要性、合理性以及募投新增产能消化可行性,进一步揭示募投项目产能消化风险。
永大股份在招股书中列出了“新增产能无法完全消化的风险”,如果压力容器产品的相关下游行业出现重大不利变化,超大型压力容器的市场需求不及预期,或者公司未来销售能力无法继续提升,市场拓展进展不畅,公司募集资金投资项目的新增产能将面临无法完全消化的风险,从而导致无法达到预期目标。
研发费用率在同行中垫底。报告期内,永大股份研发费用分别为2,228.33万元、2,439.99万元、2,566.13万元、1,231.08万元,研发费用率分别为3.2%、3.43%、3.13%、3.84%。
对比来看,可比同行研发费用率均值均高于公司,分别为4.08%、4.4%、5.07%、4.7%,2024年,所有可比同行研发费用率均高于公司,科新机电、蓝科高新、兰石重装、森松国际、锡装股份、广厦环能分别为3.43%、7.53%、4.96%、5.75%、3.37%、5.36%。

研发人员以大专以下学历为主。报告期内,永大股份研发人员分别为55人、54人、54人、53人,占比均在10%以上,不过学历以大专、大专以下学历为主,2024年分别为16人、29人。

截至招股书披露日,公司已经获得59项专利,其中发明专利24项,占比约41%,实用新型专利35项。
收入预降,与客户对簿公堂
前三季度业绩双降。2022年至2024年,永大股份营业收入稳增,分别为6.96亿元、7.12亿元、8.19亿元,归母净利润分别为1.12亿元、1.31亿元、1.07亿元,2024年增收不增利,收入大增15.04%,归母净利润则大幅下滑18.35%。
据短平快解读了解,今年前三季度,公司录得营收、净利双降,分别为3.61亿元、0.7亿元,同比分别下滑25.16%、3.34%。据预测,公司全年收入7亿元至7.5亿元,同比下滑8.46%至14.56%,归母净利润1.13亿元至1.3亿元,同比增长5.89%至21.81%(未经审阅)。

永大股份表示,营业收入同比变动有所下降,主要受项目安装调试验收时点的影响,安装调试验收的时间由客户根据项目进度统筹安排,具体受客户场地、不同标段进度、安装周期、审批流程等因素影响,但净利润整体保持稳定、可持续。
期末前五大客户集中度超八成。报告期内,永大股份向前五大客户的销售额分别为5.9亿元、4.77亿元、5.43亿元、2.77亿元,占比分别为85.36%、67.32%、66.47%、86.69%,期末对中国化学、万华化学的销售额分别为1.73亿元、0.56亿元,占比分别为54.2%、17.63%。

公司表示,客户的集中度较高,主要系下游行业单个项目的投资金额较高与公司的客户主要为大型企业集团所致。同时也表示,若主要客户出现的经营情况、资信状况出现不利变动,可能导致公司订单承接量萎缩或应收账款不能及时收回,对经营能力、盈利能力产生一定的不利影响。
与客户对簿公堂,单项计提坏账损失0.33亿元。据披露,永大股份与阳煤集团深州化工有限公司、内蒙古润阳悦达新能源科技有限公司(润阳悦达)存在诉讼纠纷,案由是买卖合同纠纷,涉及金额分别为1798.85万元、3544.28万元,公司为原告。

具体来看,2022年10月,公司发起诉讼,同时提交《保全申请书》,要求冻结阳煤集团深州化工有限公司17,988,478.85元等额财产,2023年9月收到执行案款1,825.55万元,该案件未对公司造成重大不利影响.
2024年8月,公司对润阳悦达提起诉讼,要求立即支付货款3544.28万元以及相应的利息损失,10月在鄂托克前旗人民法院达成调解,约定被告按期还款事宜,但后续并未履约付款,公司在今年1月10日申请强制执行,但截至招股书披露日仍未收到法院连通知,公司基于审慎性原则,对该公司的应收账款、合同资产按100%的比例单项计提坏账损失3,304.32万元。
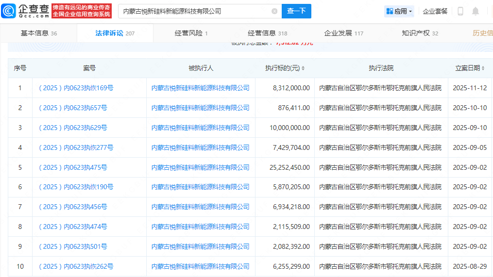
企查查显示,润阳悦达(现已更名:内蒙古悦新硅料新能源科技有限公司)自今年8月以来新增多项被执行人记录,被执行总金额0.75亿元,同时被限制高消费,持股比例83%的大股东江苏润阳新能源科技股份有限公司也是被执行人,金额0.22亿元。

另外,江苏润阳新能源科技股份有限公司曾在2020年11月启动辅导备案,2022年11月通过审核,2023年6月底注册生效,但截至今日迟迟没有上市,预估上市计划将会搁浅。
换而言之,公司后续收回润阳悦达相关货款的可能性较低,该事项对公司利润影响几何?唯有等待后续披露了。